
赵薇名下股权再遭到冻结。
天眼查显示,近日,赵薇所持有的西藏龙薇文化传媒有限公司、合宝文娱集团有限公司、芜湖东润发投资有限责任公司股权被冻结,冻结股权数额分别为190万元人民币、500万元人民币、900万元人民币,冻结期限为3年,执行法院为北京市东城区人民法院。
其中,赵薇在西藏龙薇文化传媒有限公司持股95%、芜湖东润发投资有限责任公司持股90%,以及在合宝文娱集团有限公司持股约4.5%。
据天眼查此前消息,今年7月,广州市海珠区人民法院向广州乐拍天下运动科技有限公司、合宝文娱集团有限公司及杨某某公告送达执行通知书、报告财产令等材料,要求五日内向法院书面报告现有财产及近一年财产变动情况。
案件流程信息显示,今年5月,上述公司及自然人已因此案被恢复执行48万余元。
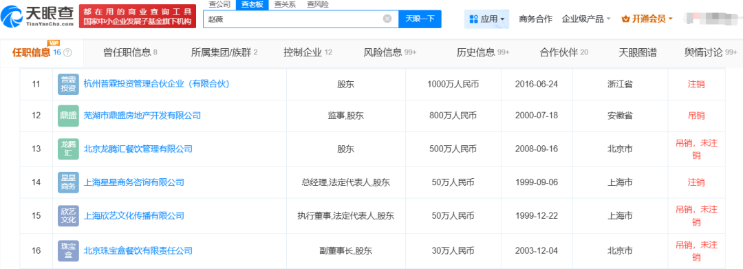
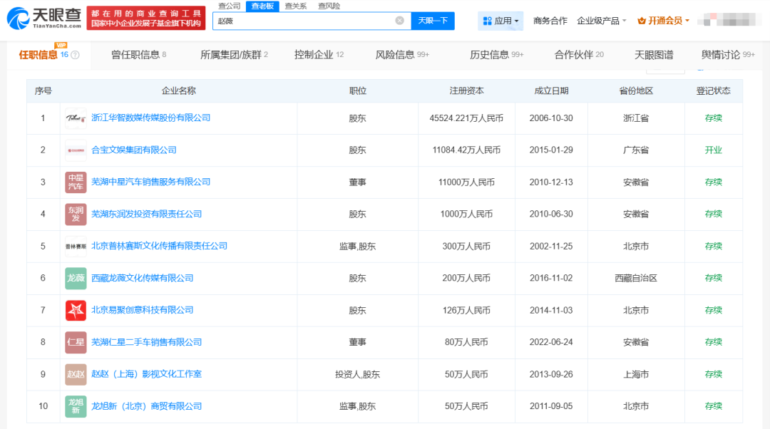
近年,赵薇的商业版图不断收缩。天眼查显示,目前,赵薇名下共关联16家公司,其中10家为存续或开业状态,包括芜湖中星汽车销售服务有限公司、合宝文娱集团有限公司、西藏龙薇文化传媒有限公司、北京普林赛斯文化传播有限责任公司等,赵薇在上述公司任股东、董事等职务。
2024年4月,赵薇名下部分所持股权被冻结,冻结股权标的企业为合宝文娱集团有限公司,执行法院为北京市第四中级人民法院,被冻结股权金额为500万元人民币,冻结期限至2027年4月10日。
同年11月,据天眼查,浙江祥源文旅(维权)股份有限公司、西藏龙薇文化传媒有限公司、赵薇新增一则被执行人信息,执行金额8488元。此外,上述两公司还被强制执行5689元。
公开资料显示:赵薇,1976年3月12日出生于安徽省芜湖市,中国内地影视女演员、歌手、导演、监制,毕业于北京电影学院表演系,并取得北京电影学院导演系硕士学位。
海量资讯、精准解读,尽在新浪财经APP
责任编辑:刘万里 SF014
股票配资开户提示:文章来自网络,不代表本站观点。